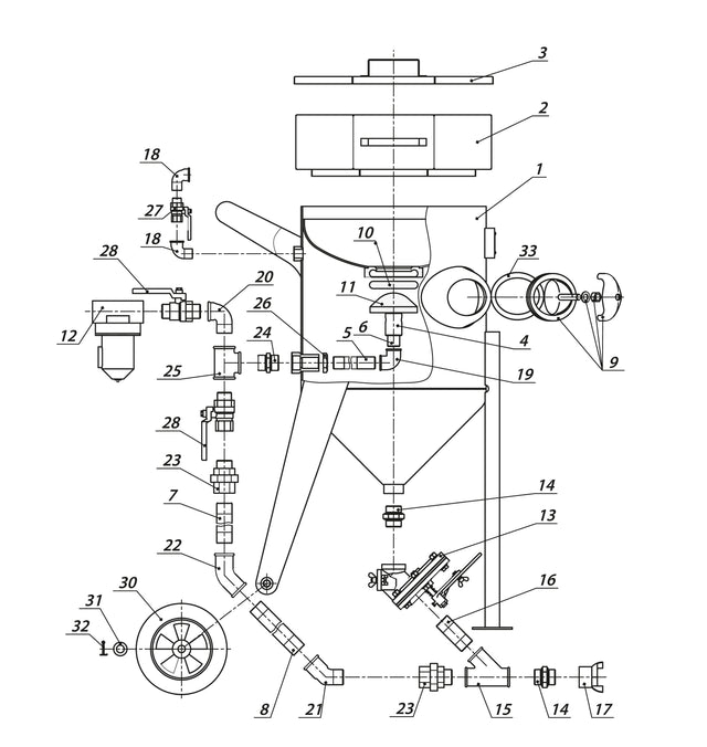
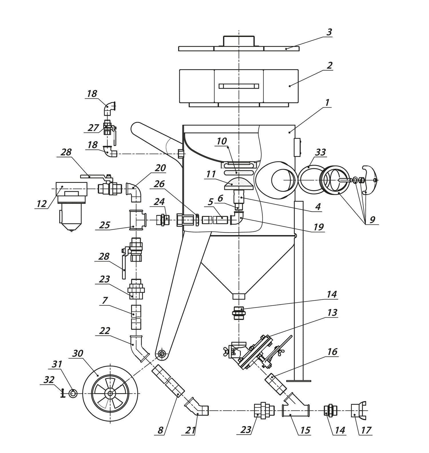
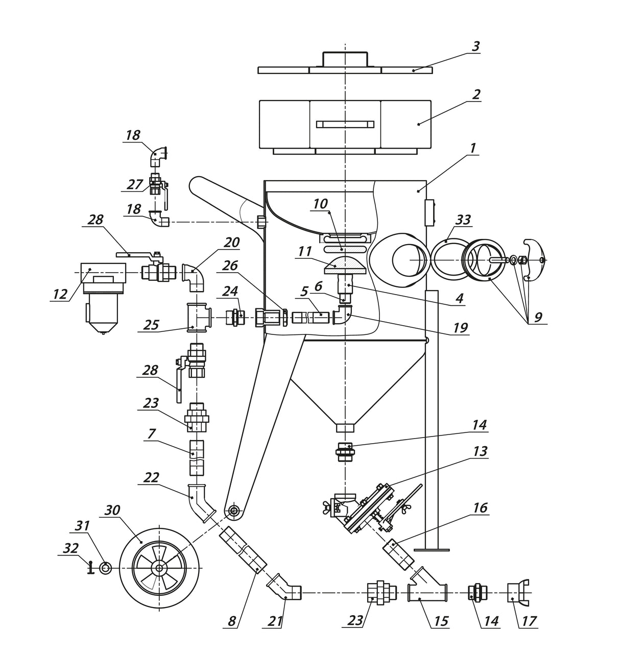
Onderdelen voor Contracor BlastRazor Z-100 / Z-200
Verzending
Zakelijk bestellen?
Zakelijk bestellen?
Bij ons kunt u eenvoudig zakelijk bestellen. Kies op de winkelwagen pagina voor "zakelijk" en profiteer automatisch van de volgende voordelen:
- Snelle levering: Snelle en betrouwbare (pakket) verzending met track & trace of (pallet) levering op afspraak.
- Persoonlijke service: Toegang tot onze zakelijke klantenservice.
- Volumekorting: Korting bij bulkbestellingen wordt automatisch toegepast op uw winkelwagen.
- Factuur: Duidelijke en gespecificeerde BTW-factuur, met optioneel uw eigen referentienummer.
- BTW-verlegging: Leveren wij aan u buiten Nederland en heeft u een BTW-nummer van een ander EU-land? Voer uw BTW-nummer dan in op de winkelwagenpagina. Onze systemen verifiëren het BTW-nummer en passen bij de betaling automatisch 0% BTW toe indien het nummer geldig is.
Vragen over zakelijk bestellen? Neem contact met ons op.
Betaalmethoden
Beveiligde betaling met o.a.

